雙相鋼放料閥產品概述
雙相鋼放料閥是一種閥體、閥桿、閥芯和閥座等主體部件由2205、2507或ASTM A995 Gr.4A(CD3MN)、5A(CE3MN)、6A(CD3MWCuN)及A182 F51、F53、F55等鑄件或鍛件毛坯加工而成,適于安裝在反應釜底作排放物料及取樣用的雙相不銹鋼放料閥,該閥根據實際情況的需要,放底被設計成平底型,閥體有V形、Y形和角式三種結構,流道表面光滑、流暢,并提供上升和下降兩種工作方式的閥瓣,從而方便物料的流出。
雙相鋼放料閥常見的結構型式有上展式和下展式兩種,應根據釜內安裝的攪拌器類型進行配置,其啟閉動作是通過手動、氣動或電動驅動閥桿帶動閥芯上、下移動來完成的,閥芯與閥座接觸時閥門關閉,分離時介質流通。該閥整體采用由鐵素體相和奧氏體相構成的雙相不銹鋼材料制造,機械性能好,耐點蝕性和耐應力腐蝕裂紋性優良,所以,本產品特適用于含氯化物、H?S、CO?等腐蝕性物料儲槽和其他容器之放料、排料及取樣。
雙相鋼放料閥部件材料
序號  | 部件名稱  | 材料名稱  | ||||
1  | 閥 體  | 2205  | 2507  | A995 Gr.4A  | A995 Gr.5A  | A995 Gr.6A  | 
2  | 閥 桿  | 2205  | 2507  | A182 F51  | A182 F53  | A182 F55  | 
3  | 閥 座  | 2205  | 2507  | A182 F51  | A182 F53  | A182 F55  | 
4  | 閥 芯  | 2205  | 2507  | A182 F51  | A182 F53  | A182 F55  | 
5  | 填 料  | PTFE  | PTFE  | PTFE  | PTFE  | PTFE  | 
6  | 墊 片  | PTFE  | PTFE  | PTFE  | PTFE  | PTFE  | 
7  | 螺 柱  | A193 B8  | A193 B8M  | A193 B8  | A193 B8M  | A193 B8M  | 
8  | 螺 母  | A194 8  | A194 8M  | A194 8  | A194 8M  | A194 8M  | 
雙相鋼放料閥技術規范
公稱壓力PN(MPa)  | 0.6  | 1.0  | 1.6  | 2.5  | 2.0  | 
殼體強度試驗壓力(MPa)  | 0.9  | 1.5  | 2.4  | 3.75  | 3.0  | 
高壓水密封試驗壓力(MPa)  | 0.66  | 1.1  | 1.76  | 2.75  | 2.2  | 
低壓氣密封試驗壓力(MPa)  | 0.6  | 0.6  | 0.6  | 0.6  | 0.6  | 
設計制造  | JB/T 11489-2013 放料用截止閥  | ||||
連接法蘭  | JB/T 79、GB/T 9113、HG/T 20592、HG/T 20615、SH/T 3406、ASME B16.5等  | ||||
檢驗試驗  | JB/T 11489-2013 放料用截止閥  | ||||
適用溫度  | -60℃ ~ 232℃  | ||||
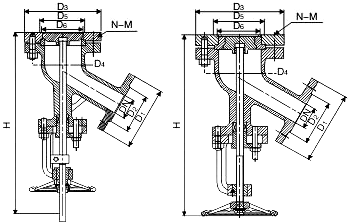
雙相鋼放料閥外型尺寸
公稱壓力 PN(MPa)  | 公稱通徑 DN(mm)  | 上展式尺寸(mm)  | 下展式尺寸(mm)  | ||||||||||
D1  | D2  | D3  | D4  | D5  | D6  | D1  | D2  | D3  | D4  | D5  | D6  | ||
1.6  | 25  | 115  | 85  | 115  | 85  | —  | —  | 115  | 85  | 135  | 100  | 70  | 40  | 
32  | 135  | 100  | 135  | 100  | 70  | 40  | 135  | 100  | 145  | 110  | 75  | 55  | |
40  | 145  | 110  | 145  | 110  | 70  | 50  | 145  | 110  | 160  | 125  | 80  | 60  | |
50  | 160  | 125  | 160  | 125  | 80  | 60  | 160  | 125  | 180  | 145  | 100  | 80  | |
65  | 180  | 145  | 180  | 145  | 95  | 75  | 180  | 145  | 195  | 160  | 135  | 110  | |
80  | 195  | 160  | 195  | 160  | 110  | 90  | 195  | 160  | 215  | 190  | 160  | 135  | |
100  | 215  | 180  | 215  | 180  | 130  | 110  | 215  | 180  | 245  | 225  | 200  | 175  | |
125  | 245  | 210  | 245  | 210  | 160  | 130  | 245  | 210  | 280  | 245  | 200  | 175  | |
150  | 280  | 240  | 280  | 240  | 190  | 150  | 280  | 240  | 335  | 295  | 240  | 210  | |
200  | 335  | 295  | 335  | 295  | 240  | 200  | 335  | 295  | 405  | 355  | 285  | 240  | |
雙相鋼放料閥結構圖

如果你需訂購我廠放料閥產品,咨詢時煩請說明結構型式、公稱通徑、公稱壓力、閥體和內件材質、使用介質、工作溫度、驅動形式、連接方式,如采用法蘭連接,請注明法蘭標準及端面形式等。
網站首頁