手搖刷式Y型過濾器產品簡介
手搖刷式Y型過濾器是一種由殼體、濾網、帶手柄的清洗刷架組件和排污閥等部分組成,適合安裝在24小時連續運行的不停機系統,可以濾去水中的雜質,從而使水質得到凈化的濾水器,其殼體內部濾網內有一穿過端蓋的轉動軸,其中位于網內的部分裝有刷子,而位于殼外側的那端則與手搖柄體相連,當需要清洗濾網時,無需停機,更不用拆卸過濾器部件,只需轉動手搖柄體數圈,對附有堵塞物的網內壁進行刷洗,同時,打開端蓋上裝設的排污球閥,將雜物排出即可。
手搖刷式Y型過濾器在進水口和出水口處分別裝有壓力表,以便于用戶通過進出口壓差來判斷是否對濾網進行清洗(通常當壓力差達到0.2MPa左右,或者比新安裝時大3~4倍時,表明網內表面已掛滿雜質或污物,建議此時應對網進行清洗,當壓差值小于0.1MPa時,即可停止刷洗),其利用殼體內置的刷子和刷架,不斷刷除濾網上的碎屑、懸浮顆粒或其他混合物,在系統水的沖洗下,再通過排污閥排出。本產品操作簡單、使用方便,能隨時以在線方式將濾網上的濾出物除去。
手搖刷式Y型過濾器部件材料
| 序號 | 部件名稱 | 材料名稱 | |||||
| 1 | 殼 體 | Q235B | 20# | 304 | 304L | 316 | 316L | 
| 2 | 濾 網 | 304 | 304 | 304 | 304L | 316 | 316L | 
| 3 | 法 蘭 | Q235B | Q235B | 304 | 304L | 316 | 316L | 
| 4 | 密 封 圈 | NBR、EPDM、PKM、PTFE、TEFLON、GRAPHITE | |||||
| 5 | 端 蓋 | Q235B | Q235B | 304 | 304L | 316 | 316L | 
| 6 | 排 污 閥 | CF8 | CF8 | CF8 | CF3 | CF8M | CF3M | 
| 7 | 轉 動 軸 | Q235B | Q235B | 304 | 304L | 316 | 316L | 
| 8 | 清 洗 刷 | 硬質塑料纖維、豬鬃毛、骨質尼龍、不銹鋼 | |||||
| 9 | 螺 柱 | 35CrMo | 35CrMo | 304 | 304 | 316 | 316 | 
| 10 | 螺 母 | 30CrMo | 30CrMo | 304 | 304 | 316 | 316 | 
| 11 | 壓 力 表 | 組合件 | 組合件 | 組合件 | 組合件 | 組合件 | 組合件 | 
手搖刷式Y型過濾器技術參數
| 公稱壓力PN(MPa) | 1.0 | 1.6 | 2.5 | 4.0 | 2.0 | 5.0 | 
| 殼體試驗壓力(MPa) | 1.5 | 2.4 | 3.75 | 6.0 | 3.0 | 7.5 | 
| 氣密性試驗壓力(MPa) | 1.0 | 1.6 | 2.5 | 4.0 | 2.0 | 5.0 | 
| 設計制造 | HG/T 21637-2021、GB/T 14382-2008、SH/T 3411-2017 | |||||
| 連接法蘭 | JB/T 81、GB/T 9119、HG/T 20592、HG/T 20615、SH/T 3406、ASME B16.5等 | |||||
| 檢驗試驗 | HG/T 21637-2021、GB/T 14382-2008、SH/T 3411-2017 | |||||
| 過濾精度 | 100μm ~ 3500μm | |||||
| 壓力損失 | ≤0.015MPa | |||||
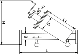
手搖刷式Y型過濾器主要尺寸
| 公稱壓力 PN  | 公稱通徑 DN  | 結構尺寸/mm | |||||
| d | D | L | L1 | H | dn | ||
| 10 ~ 25 20 (Class150)  | 40 | 45 | 159 | 520 | 330 | 560 | 20 | 
| 50 | 57 | 159 | 520 | 330 | 560 | 20 | |
| 65 | 76 | 159 | 520 | 330 | 560 | 20 | |
| 80 | 89 | 159 | 550 | 350 | 580 | 20 | |
| 100 | 108 | 219 | 670 | 400 | 670 | 20 | |
| 125 | 133 | 219 | 690 | 420 | 680 | 25 | |
| 150 | 159 | 273 | 800 | 450 | 720 | 32 | |
| 200 | 219 | 325 | 900 | 500 | 850 | 32 | |
| 250 | 273 | 426 | 1200 | 580 | 1050 | 40 | |
| 表中未列出的其他規格尺寸,請咨詢汗越閥門技術部! | |||||||
手搖刷式Y型過濾器結構圖

我廠Y型過濾器公稱通徑、工作壓力、法蘭標準、過濾精度及濾網材質等可根據客戶需求定制,本產品清洗刷材料可選用不銹鋼、豬鬃毛、骨質尼龍等,過濾芯件可采用沖孔板濾筒內置編制絲網或不銹鋼楔形濾網,具體詳情請咨詢我司銷售技術人員。
網站首頁