螺紋Y型過濾器產品簡介
螺紋Y型過濾器端部連接形式采用方便拆卸的G、ZG、Rc、NPT、BSP.F、BSP.T等及其他形式的內、外螺紋,其公稱通徑在DN15~DN100之間,一般安裝在口徑不大于100mm的設備、泵、閥之前的管道上,當物料從入口進入置有相應規格的濾芯后,其固體顆粒被濾網截留,沉積在濾筒底部,而清潔的介質則能穿過濾筒濾網,從出口流出,當需要清洗時,只需把螺蓋擰開,將濾芯取出,處理后重新裝上即可。
螺紋Y型過濾器殼體按制造工藝的不同,有鑄制、鍛制和焊制三種,其中鑄造件一般適用于公稱壓力不超過4.0MPa的工況,而鍛造成型或焊接制作的則能在壓力等級不大于Class2500的環境下使用,所以其特適合安裝在高壓小口徑管道輸送系統中除去介質中所攜帶的固體顆粒物,可以有效地避免因系統雜質而引發堵塞現象。本產品可根據用戶需要在殼蓋上安裝排污絲堵或排污閥,方便放盡殘料或被過濾下來的雜質。
螺紋Y型過濾器部件材料
| 序號 | 部件名稱 | 材料名稱 | ||||
| 1 | 殼 體 | WCB | CF8 | CF3 | CF8M | CF3M | 
| 2 | 殼 蓋 | WCB | CF8 | CF3 | CF8M | CF3M | 
| 3 | 濾 筒 | 304 | 304 | 304L | 316 | 316L | 
| 4 | 濾 網 | 304 | 304 | 304L | 316 | 316L | 
| 5 | 墊 片 | GRAPHITE | PTFE | PTFE | PTFE | PTFE | 
| 6 | 排污螺塞 | 304 | 304 | 304L | 316 | 316L | 
螺紋Y型過濾器性能規范
| 公稱壓力PN(MPa) | 0.6 | 1.0 | 1.6 | 2.5 | 2.0 | 
| 殼體強度試驗壓力(MPa) | 0.9 | 1.5 | 2.4 | 3.75 | 3.0 | 
| 氣密性試驗壓力(MPa) | 0.6 | 1.0 | 1.6 | 2.5 | 2.0 | 
| 設計制造 | HG/T 21637-1991 化工管道過濾器 | ||||
| 螺紋尺寸 | GB/T 7306.1、GB/T 7306.2、GB/T 7307、GB/T 12716、ASME B1.20.1等 | ||||
| 檢驗試驗 | HG/T 21637-1991 化工管道過濾器 | ||||
| 過濾精度 | 10目 ~ 500目 | ||||
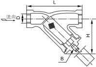
螺紋Y型過濾器主要尺寸
| 公稱壓力 PN  | 公稱通徑 DN  | 公稱尺寸 NPS  | D (in)  | 外形尺寸(mm) | B (in)  | |
| L | H | |||||
| 16 ~ 25 (Class150)20  | 10 | ? | G?″或NPT?″ | 64 | 51 | — | 
| 15 | ? | G?″或NPT?″ | 64 | 51 | ZG?″或NPT?″ | |
| 20 | ? | G?″或NPT?″ | 75 | 60 | ZG?″或NPT?″ | |
| 25 | 1 | G1″或NPT1″ | 89 | 72 | ZG?″或NPT?″ | |
| 32 | 1 ? | G1?″或NPT1?″ | 102 | 77 | ZG?″或NPT?″ | |
| 40 | 1 ? | G1?″或NPT1?″ | 118 | 87 | ZG?″或NPT?″ | |
| 50 | 2 | G2″或NPT2″ | 139 | 103 | ZG?″或NPT?″ | |
| 65 | 2 ? | G2?″或NPT2?″ | 180 | — | ZG?″或NPT?″ | |
| 80 | 3 | G3″或NPT3″ | 200 | — | ZG?″或NPT?″ | |
螺紋Y型過濾器結構圖

本產品主要型號有SY11C-H10、SY11C-H25、SY11C-A150、SY11S-H10、SY11S-H25、SY11S-A150等,螺紋Y型過濾器有內螺紋、外螺紋及鑄造、鍛造等形式,我廠可按客戶需求承接定制,客戶在訂購時煩請告知型號規格、殼體材質、濾筒濾網材料、過濾精度等,如需帶排污絲堵,訂貨時請特別說明。
網站首頁