側流式T型過濾器產品概述
SRT1側流式T型過濾器是本廠根據客戶使用要求,參考《GB/T 14382-2008管道用三通過濾器》標準設計和制造的一款管道過濾器,其采用焊制工藝將法蘭焊接在等徑T形三通右端,并通過緊固件將法蘭與法蘭蓋連接起來,T形三通殼體內安裝有錐形結構不銹鋼濾芯,濾芯由濾筒和絲網兩部分組成,其設置于濾筒一端的第一開口和設置于濾筒另一端的第二開口,第一開口和第二開口均呈圓形,并平行設置,第一開口的直徑小于第二開口的直徑,其特征在于,第一開口與第二開口不同軸,且第一開口的圓周上的一點與第二開口的圓周上的一點之間的連線分別與第一開口所在的平面以及第二開口所在的平面垂直。
SRT1側流式T型過濾器適用于介質流向發生90度變化的管道除去流體中少量固體顆粒雜質。本產品按結構型式不同分為:SRT1基本型側流式T型過濾器和SRT2加長型側流式T型過濾器兩種。
側流式T型過濾器部件材料
| 序號 | 部件名稱 | 材料名稱 | ||||
| 1 | 殼 體 | 20 | 15CrMo | 304 | 316 | 316L | 
| 2 | 法 蘭 | A105 | 15CrMo | 304 | 316 | 316L | 
| 3 | 法 蘭 蓋 | Q235B | 15CrMo | 304 | 316 | 316L | 
| 4 | 濾 芯 | 304 | 304 | 304 | 316 | 316L | 
| 5 | 密封墊片 | 聚四氟乙烯、柔性石墨纏繞、金屬纏繞墊(帶內外環) | ||||
| 6 | 濾 座 | Q235B | 15CrMo | 304 | 316 | 316L | 
| 7 | 螺 柱 | 35CrMo | 35CrMo | 304 | 316 | 316 | 
| 8 | 螺 母 | 30CrMo | 30CrMo | 304 | 316 | 316 | 
| 9 | 排污絲堵 | 304 | 304 | 304 | 316 | 316L | 
側流式T型過濾器技術規范
| 公稱壓力PN(MPa) | 1.6 | 2.5 | 4.0 | 2.0 | 5.0 | 
| 殼體試驗壓力(MPa) | 2.4 | 3.75 | 6.0 | 3.0 | 7.5 | 
| 氣密性試驗壓力(MPa) | 1.6 | 2.5 | 4.0 | 2.0 | 5.0 | 
| 設計制造 | GB/T 14382-2008 管道用三通過濾器 | ||||
| 對焊接端 | 按GB/T 12224-2005或ASME B16.25-2017的規定 | ||||
| 檢驗試驗 | GB/T 14382-2008 管道用三通過濾器 | ||||
| 工作溫度 | -196℃ ~ 540℃ | ||||
| 過濾精度 | 20μm ~ 16000μm | ||||
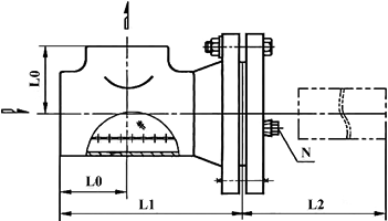
側流式T型過濾器主要尺寸
| 公稱壓力 PN  | 公稱通徑 DN  | 安裝尺寸/mm | 過濾面積 cm2  | 排污口N | ||
| L0 | L1 | L2 | 管螺紋 | |||
| 20 (Class150) | 50 | 64 | 192 | 180 | 120 | R? | 
| 65 | 76 | 222 | 207 | 160 | R? | |
| 80 | 86 | 242 | 227 | 220 | R? | |
| 100 | 105 | 286 | 268 | 329 | R? | |
| 125 | 124 | 337 | 320 | 486 | R? | |
| 150 | 143 | 375 | 358 | 685 | R? | |
| 200 | 178 | 458 | 439 | 1152 | R? | |
| 250 | 216 | 534 | 513 | 1737 | R? | |
| 300 | 254 | 622 | 599 | 2357 | R? | |
| 350 | 279 | 685 | 660 | 3077 | R? | |
| 400 | 305 | 737 | 711 | 3839 | R? | |
側流式T型過濾器結構圖

如果你需訂購我廠生產的T型過濾器產品,咨詢時煩請說明型號規格、殼體材質、濾網材質、過濾精度等本產品根據絲網安裝在濾筒內和濾筒外分為正側流式和反側流式兩種,右端殼體法蘭可采用帶頸對焊、帶頸平焊和板式平焊等,也可按用戶需求定制,具體詳情請聯系我司銷售技術人員。
網站首頁