SRS1直流式T型過濾器產品概述
SRS1直流式T型過濾器主要由殼體、濾網、殼體法蘭、殼體法蘭蓋及緊固件等組成,其殼體是采用等徑T形三通與帶頸對焊法蘭、帶頸平焊法蘭或板式平焊法蘭通過焊接工藝焊制而成的,殼體法蘭和法蘭蓋焊裝在T形三通下端,濾網設置在殼體內部,當流體由左進口進入殼體,流經置有一定規格濾網后,其固體雜質顆粒被阻擋在濾網內,而清潔的濾液通過濾網,由右出口排出。
SRS1直流式T型過濾器是我廠按《GB/T 14382-2008管道用三通過濾器》標準的試驗方法及檢驗規則等設計和制造的一款T型過濾器產品,該標準適用于公稱尺寸DN400及其以下,公稱壓力PN16-PN40和Class150~Class300,工作溫度范圍為-196℃~540℃的管道過濾器。本產品按結構型式不同分為:SRS1基本型直流式T型過濾器和SRS2加長型直流式T型過濾器兩種。
SRS1直流式T型過濾器部件材料
序號  | 部件名稱  | 材料名稱  | ||||
1  | 殼 體  | 20  | 15CrMo  | 304  | 316  | 316L  | 
2  | 法 蘭  | A105  | 15CrMo  | 304  | 316  | 316L  | 
3  | 法 蘭 蓋  | Q235B  | 15CrMo  | 304  | 316  | 316L  | 
4  | 濾 芯  | 304  | 304  | 304  | 316  | 316L  | 
5  | 密封墊片  | 聚四氟乙烯、柔性石墨纏繞、金屬纏繞墊(帶內外環)  | ||||
6  | 濾 座  | Q235B  | 15CrMo  | 304  | 316  | 316L  | 
7  | 螺 柱  | 35CrMo  | 35CrMo  | 304  | 316  | 316  | 
8  | 螺 母  | 30CrMo  | 30CrMo  | 304  | 316  | 316  | 
9  | 排污絲堵  | 304  | 304  | 304  | 316  | 316L  | 
SRS1直流式T型過濾器技術規范
公稱壓力PN(MPa)  | 1.6  | 2.5  | 4.0  | 2.0  | 5.0  | 
殼體試驗壓力(MPa)  | 2.4  | 3.75  | 6.0  | 3.0  | 7.5  | 
高壓液密封試驗壓力(MPa)  | 1.76  | 2.75  | 4.4  | 2.2  | 5.5  | 
低壓氣密封試驗壓力(MPa)  | 0.6  | 0.6  | 0.6  | 0.6  | 0.6  | 
設計制造  | GB/T 14382-2008 管道用三通過濾器  | ||||
對焊接端  | 按GB/T 12224-2005或ASME B16.25-2017的規定  | ||||
檢驗試驗  | GB/T 14382-2008 管道用三通過濾器  | ||||
工作溫度  | -196℃ ~ 540℃  | ||||
過濾精度  | 20μm ~ 16000μm  | ||||
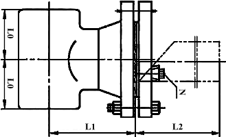
SRS1直流式T型過濾器外型尺寸
公稱壓力  | 公稱通徑  | 尺寸mm  | 過濾面積  | 排污口N  | ||
L0  | L1  | L2  | 管螺紋  | |||
16  | 50  | 64  | 112  | 142  | 72  | R?  | 
65  | 76  | 121  | 155  | 108  | R?  | |
80  | 86  | 136  | 176  | 148  | R?  | |
100  | 105  | 157  | 207  | 190  | R?  | |
125  | 124  | 179  | 242  | 320  | R?  | |
150  | 143  | 198  | 273  | 408  | R?  | |
200  | 178  | 240  | 341  | 899  | R?  | |
250  | 216  | 280  | 415  | 1290  | R?  | |
300  | 254  | 332  | 486  | 1954  | R?  | |
350  | 279  | 361  | 531  | 2445  | R?  | |
400  | 305  | 390  | 585  | 3092  | R?  | |
25  | 50  | 64  | 112  | 142  | 72  | R?  | 
65  | 76  | 128  | 162  | 108  | R?  | |
80  | 86  | 144  | 184  | 148  | R?  | |
100  | 105  | 170  | 220  | 190  | R?  | |
125  | 124  | 192  | 255  | 320  | R?  | |
150  | 143  | 218  | 293  | 408  | R?  | |
200  | 178  | 258  | 359  | 899  | R?  | |
250  | 216  | 296  | 425  | 1290  | R?  | |
300  | 254  | 346  | 500  | 1954  | R?  | |
350  | 279  | 379  | 549  | 2445  | R?  | |
400  | 305  | 415  | 610  | 3092  | R?  | |
40  | 50  | 64  | 112  | 142  | 72  | R?  | 
65  | 76  | 128  | 162  | 108  | R?  | |
80  | 86  | 144  | 184  | 148  | R?  | |
100  | 105  | 170  | 220  | 190  | R?  | |
125  | 124  | 192  | 255  | 320  | R?  | |
150  | 143  | 218  | 293  | 408  | R?  | |
200  | 178  | 266  | 367  | 899  | R?  | |
250  | 216  | 304  | 433  | 1290  | R?  | |
300  | 254  | 359  | 513  | 1954  | R?  | |
350  | 279  | 404  | 574  | 2445  | R?  | |
400  | 305  | 440  | 625  | 3092  | R?  | |
(Class150) 20  | 50  | 64  | 128  | 158  | 72  | R?  | 
65  | 76  | 146  | 180  | 108  | R?  | |
80  | 86  | 156  | 196  | 148  | R?  | |
100  | 105  | 181  | 220  | 190  | R?  | |
125  | 124  | 213  | 265  | 320  | R?  | |
150  | 143  | 232  | 297  | 408  | R?  | |
200  | 178  | 280  | 370  | 899  | R?  | |
250  | 216  | 318  | 433  | 1290  | R?  | |
300  | 254  | 368  | 508  | 1954  | R?  | |
350  | 279  | 406  | 561  | 2445  | R?  | |
400  | 305  | 432  | 610  | 3092  | R?  | |
(Class300) 50  | 50  | 64  | 134  | 164  | 72  | R?  | 
65  | 76  | 152  | 186  | 108  | R?  | |
80  | 86  | 165  | 205  | 148  | R?  | |
100  | 105  | 191  | 230  | 190  | R?  | |
125  | 124  | 222  | 276  | 320  | R?  | |
150  | 143  | 241  | 306  | 408  | R?  | |
200  | 178  | 289  | 379  | 899  | R?  | |
250  | 216  | 333  | 448  | 1290  | R?  | |
300  | 254  | 384  | 524  | 1954  | R?  | |
350  | 279  | 422  | 577  | 2445  | R?  | |
400  | 305  | 451  | 629  | 3092  | R?  | |
SRS1直流式T型過濾器結構圖

如果你需訂購我廠生產的直流式T型過濾器產品,咨詢時煩請說明公稱壓力、公稱通徑、殼體材質、濾網材質、過濾精度等,以上提供的為基本型對焊連接安裝尺寸參數,如需法蘭連接或加長型安裝尺寸請聯系我司銷售技術人員。
網站首頁