P41X排氣閥產品概述
P41X排氣閥是一種由閥體、閥蓋、內杯、浮球、通氣窗、密封圈和橡膠墊等組成的單一進排氣口自動進排氣閥,當輸水管道空管充水時,管中的氣體自閥門進口,通過內杯通水口和夾層上方的通氣窗由出氣口向空中排放。當氣盡水入時,水由內杯上部的通氣窗進入將浮球托起,浮球將出氣口堵死,排氣結束。當上游閥門關閉,閥后管道在水流作用下,將產生負壓時,通水口由負壓打開,閥中的水排入管道,使浮球下落,達到自動進氣的目的,最終負壓消失。
P41X排氣閥主要安裝在供水管網頂端或閉氣的地方,用來排出管內的氣體,疏通管道,使管線運轉正常,如突然停電、停泵,管內會出現負壓力引起管道振動或破裂,該閥則隨時排氣,確保給水管道安全。管線正常運行時,本產品主要用以排除從水中析出的氣體,以免空氣積在管中,減小過水斷面和增加管線的水頭損失。
P41X排氣閥部件材料
序號  | 部件名稱  | 材料名稱  | |||||
1  | 閥 體  | QT450  | WCB  | CF8  | CF3  | CF8M  | CF3M  | 
2  | 閥 蓋  | QT450  | WCB  | CF8  | CF3  | CF8M  | CF3M  | 
3  | 內 杯  | 304  | 304  | 304  | 304L  | 316  | 316L  | 
4  | 浮 球  | 304  | 304  | 304  | 304L  | 316  | 316L  | 
5  | 密 封 圈  | NBR  | NBR  | NBR  | NBR  | NBR  | NBR  | 
6  | 橡 膠 墊  | NBR  | NBR  | NBR  | NBR  | NBR  | NBR  | 
7  | 螺 栓  | 35  | 35  | 304  | 304  | 316  | 316  | 
8  | 螺 母  | 45  | 45  | 304  | 304  | 316  | 316  | 
P41X排氣閥性能規范
公稱壓力PN(MPa)  | 0.25  | 0.6  | 1.0  | 1.6  | 2.5  | 2.0  | 
殼體強度試驗壓力(MPa)  | 0.375  | 0.9  | 1.5  | 2.4  | 3.75  | 3.0  | 
高壓水密封試驗壓力(MPa)  | 0.275  | 0.66  | 1.1  | 1.76  | 2.75  | 2.2  | 
低壓水密封試驗壓力(MPa)  | 0.02  | 0.02  | 0.02  | 0.02  | 0.02  | 0.02  | 
法蘭標準  | GB/T 17241.6-2008、JB/T 79-2015、GB/T 9113-2010、ASME B16.5-2017等  | |||||
檢驗試驗  | GB/T 13927-2008、API 598-2016  | |||||
適用介質  | 清水、原水或物理化學性質類似于水的其他液體  | |||||
工作溫度  | 0℃ ~ 80℃  | |||||
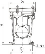
P41X排氣閥外形尺寸
公稱壓力 PN(MPa)  | 公稱尺寸 DN(mm)  | 尺寸(mm)  | |||||
H  | D0  | D  | D1  | D2  | Z-?d  | ||
1.0  | 25  | 245  | 175  | 115  | 85  | 65  | 4-14  | 
50  | 245  | 175  | 160  | 125  | 100  | 4-18  | |
80  | 285  | 220  | 195  | 160  | 135  | 4-18  | |
100  | 315  | 240  | 215  | 180  | 155  | 8-18  | |
125  | 415  | 310  | 245  | 210  | 185  | 8-18  | |
150  | 425  | 310  | 280  | 240  | 210  | 8-23  | |
200  | 465  | 380  | 335  | 295  | 265  | 8-23  | |
250  | 485  | 425  | 390  | 350  | 320  | 12-23  | |
300  | 520  | 478  | 440  | 400  | 368  | 12-23  | |
表中只列出了部分JB/T 82.1標準PN10法蘭連接外形尺寸。如需其他規格尺寸,請咨詢汗越閥門技術部!  | |||||||
P41X排氣閥結構圖

如果你需訂購我廠排氣閥產品,咨詢時煩請說明產品類型,法蘭執行標準、公稱通徑、公稱壓力、閥體材質等,我公司可按客戶需求承接定制,本產品法蘭連接的有P41X和P42X兩種型號,兩種的外形及排氣原理基本相同,只有內部結構略有差異。
網站首頁