QZF-89全天候防火呼吸閥產品概述
QZF-89全天候防火呼吸閥是一種主要安裝在常壓(包括微內壓)石油儲罐頂部的安全裝置,起減少油品蒸發損耗,控制儲罐壓力及阻止外界火焰傳入的作用,可與液壓安全閥配套使用。該閥具有通風量大,泄漏量小,耐腐蝕等特點,并有靜電接地線,使該閥與罐體保持等電位。該閥具有防凍性能,適用于寒冷地區。
QZF-89全天候防爆防火呼吸閥在因天氣潮濕風沙情況下,溫度達到零度范圍內,儲罐不可發油使用,如急需生產時必須先打開量油孔其它之類的供氣產品,以保持儲罐安全作用,本產品應三個月定期進行檢查和保養。
QZF-89全天候防火呼吸閥性能規范
序號  | 部件名稱  | 材料名稱  | ||||
1  | 閥 體  | WCB  | CF8  | CF3  | CF8M  | CF3M  | 
2  | 側 蓋  | WCB  | CF8  | CF3  | CF8M  | CF3M  | 
3  | 防 雨 蓋  | Q235B  | 304  | 304  | 316L  | 316L  | 
4  | 導 桿  | 304  | 304  | 304L  | 316  | 316L  | 
5  | 閥 座  | 304  | 304  | 304L  | 316  | 316L  | 
6  | 閥 盤  | 304  | 304  | 304L  | 316  | 316L  | 
7  | 阻 火 層  | 304  | 304  | 304L  | 316  | 316L  | 
8  | 密 封 件  | PTFE  | PTFE  | PTFE  | PTFE  | PTFE  | 
QZF-89全天候防火呼吸閥部件材料
呼吸閥開啟壓力等級代號  | A  | B  | C  | D  | E  | 
呼吸閥開啟壓力ps(Pa)  | +355,-295  | +665,-295  | +980,-295  | +1375,-295  | +1765,-295  | 
設計制造  | SY/T 0511.1-2010 石油儲罐附件 第1部分:呼吸閥  | ||||
法蘭標準  | JB/T 79、GB/T 9113、HG/T 20592、HG/T 20615、SH/T 3406、ASME B16.5等  | ||||
檢驗試驗  | SY/T 0511.1-2010 石油儲罐附件 第1部分:呼吸閥  | ||||
操作溫度  | -30℃ ~ 60℃  | ||||
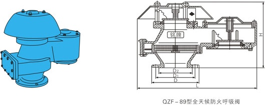
QZF-89全天候防火呼吸閥外型尺寸
公稱壓力 PN(MPa)  | 公稱通徑 DN(mm)  | 尺寸(mm)  | ||||||
L  | H  | D  | D1  | D2  | C-f  | n-d  | ||
0.6  | 50  | 362  | 360  | 140  | 110  | 90  | 14-2  | 4-?14  | 
80  | 513  | 445  | 190  | 150  | 128  | 16-2  | 4-?18  | |
100  | 513  | 445  | 210  | 170  | 148  | 16-2  | 4-?18  | |
150  | 640  | 610  | 265  | 225  | 202  | 18-2  | 8-?18  | |
200  | 770  | 700  | 320  | 280  | 258  | 20-2  | 8-?18  | |
250  | 918  | 828  | 375  | 335  | 312  | 22-2  | 12-?18  | |
注:以上為HG/T 20592-2009標準PN6整體鋼制管法蘭尺寸。  | ||||||||
QZF-89全天候防火呼吸閥結構圖

如果你需訂購我廠呼吸閥產品,咨詢時煩請說明產品名稱與型號、公稱直徑、公稱壓力、開啟壓力、通氣量、閥體和內件材質、使用介質、操作溫度、法蘭標準等,以便我們為您正確選型報價,如有技術要求時請在訂購合同中注明,若已經由設計單位選定的型號,請按型號直接向我司銷售部訂購,當使用的場合非常重要或環境比較復雜時,請您盡量提供設計圖。
網站首頁