CS45H鐘形浮子式蒸汽疏水閥產品概述
CS15H、CS45H鐘形浮子式蒸汽疏水閥是根據蒸汽和凝結水比重不同的原理工作,當蒸汽進入倒置桶內時,使桶浮起來,帶動閥芯關閉閥門,隨著溫度下降,蒸汽冷凝成水,改變桶的浮力,使其下沉,打開蒸汽疏水閥放出凝結水。當生產設備開始啟動時,倒置桶處于閥體底部,使閥芯呈開啟位置,低溫凝結水和空氣迅速排放出去,閥內溫度升高后,但仍被水充滿,閥芯處于初始狀態,高溫凝結水繼續排放出去,凝結水快排盡時,蒸汽充滿桶上部,其浮力使桶上升,帶動閥芯關閉,隨著溫度下降,蒸汽凝結成水,桶失去浮力而下沉,導致閥芯開啟排水。該閥采用杠桿機構增加開、關閥力,加大排量,減小體積,浮動閥芯軟著陸,動作靈活,使用時間長,阻汽排水性能好,自動排除空氣,允許背壓度可達80%,抗污垢能力強,便于維修,與同類蒸汽疏水閥相比,體積小、排量大。本產品可連續排水,也可間斷排水,適應性較強,在設計上保留有水封,即使在冷凝水量很少時也沒有蒸汽泄漏。
CS45H鐘形浮子式蒸汽疏水閥部件材料
序號  | 部件名稱  | 材料名稱  | ||||
1  | 閥 體  | A216 WCB  | A217 WC6  | A351 CF8  | A351 CF8M  | A351 CF3M  | 
2  | 閥 蓋  | A216 WCB  | A217 WC6  | A351 CF8  | A351 CF8M  | A351 CF3M  | 
3  | 倒 置 桶  | A240 304  | A240 304  | A240 304  | A240 316  | A240 316L  | 
4  | 閥 桿  | A240 304  | A240 304  | A240 304  | A240 316  | A240 316L  | 
5  | 閥 芯  | A276 430  | A276 430  | A276 304  | A276 316  | A276 316L  | 
6  | 閥 座  | A276 430  | A276 430  | A276 304  | A276 316  | A276 316L  | 
7  | 過 濾 網  | A240 304  | A240 304  | A240 304  | A240 316  | A240 316L  | 
8  | 堵 頭  | A105  | A182 F11  | A182 304  | A182 316  | A182 316L  | 
9  | 螺 栓  | A193 B7  | A193 B16  | A193 B8  | A193 B8M  | A193 B8M  | 
10  | 螺 母  | A194 2H  | A194 4  | A194 8  | A194 8M  | A194 8M  | 
CS45H鐘形浮子式蒸汽疏水閥性能規范
公稱壓力PN(MPa)  | 1.6  | 2.5  | 4.0  | 2.0  | 5.0  | 
殼體試驗壓力(MPa)  | 2.4  | 3.75  | 6.0  | 3.0  | 7.5  | 
設計制造  | GB/T 22654-2008 蒸汽疏水閥 技術條件  | ||||
結構長度  | GB/T 12250-2005 蒸汽疏水閥 術語、標志、結構長度  | ||||
連接法蘭  | JB/T 79、JB/T 82、GB/T 9113、GB/T 9115、HG/T 20592、HG/T 20615、ASME B16.5等  | ||||
螺紋標準  | GB/T 7306.1、GB/T 7306.2、GB/T 7307、GB/T 12716、ASME B1.20.1等  | ||||
檢驗驗收  | GB/T 12251-2005 蒸汽疏水閥 試驗方法  | ||||
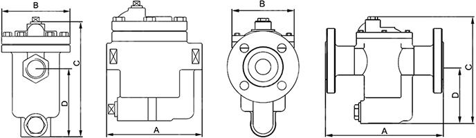
CS45H鐘形浮子式蒸汽疏水閥外型尺寸
公稱壓力 PN  | 公稱通徑 DN  | 法蘭連接結構尺寸(mm)  | 螺紋連接結構尺寸(mm)  | ||||||
A  | B  | C  | D  | A  | B  | C  | D  | ||
16 ~ 40 (Class150)20  | 15  | 170  | 102  | 166  | 94  | 127  | 102  | 166  | 94  | 
20  | 170  | 102  | 166  | 94  | 127  | 102  | 166  | 94  | |
25  | 170  | 102  | 166  | 94  | 127  | 102  | 166  | 94  | |
32  | 230  | 142  | 290  | 160  | 200  | 142  | 290  | 160  | |
40  | 230  | 142  | 290  | 160  | 200  | 142  | 290  | 160  | |
50  | 230  | 142  | 290  | 160  | 200  | 142  | 290  | 160  | |
65  | 310  | 142  | 290  | 160  | —  | —  | —  | —  | |
CS45H鐘形浮子式蒸汽疏水閥結構圖

如果你需訂購我廠蒸汽疏水閥產品,咨詢時煩請注明類型、型號規格、殼體和內件材料、進出口壓力、壓差、操作溫度及使用場合(如加熱設備、蒸汽主管線、伴熱管線等)。
網站首頁