CS16H膜盒式蒸汽疏水閥產品簡介
CS16H膜盒式蒸汽疏水閥的主要動作元件是金屬膜盒,膜盒內充滿了沸點比水的飽和溫度低的熱敏感液體,當進入閥腔的介質的溫度變化引起膜盒內感溫液體氣化或冷凝時,膜盒內的膜片隨之伸縮帶動閥片作往復移位,從而啟閉蒸汽疏水閥。用汽裝置剛啟動,管道內冷凝水溫度較低時,膜盒內的液體處于冷凝狀態,閥處于開啟狀態,空氣和冷凝水可以連續排出,隨著冷凝水溫度逐漸升高,膜盒內的液體開始氣化,當膜盒內壓力上升到大于膜盒外部壓力時,膜片帶動閥片向關閉閥的方向移動,直到關閉閥孔,由于關閉閥孔的動作極其迅速,蒸汽不會泄漏,在冷凝水溫度達到飽和溫度之前,閥完全關閉,膜盒隨溫度的變化控制閥門開關,從而起到阻汽排水的作用,一旦冷凝水溫度降低,膜盒內的感溫液體蒸汽便開始放熱凝結,膜盒內的蒸汽壓力降低,當蒸汽壓力降低到小于膜盒外部的壓力時,膜片就開啟閥孔排水。該閥延遲時間短,靈敏度高,耐水擊,不易損壞,不需人工調整,工作性能可靠,工作時閥前存有高溫冷凝水,漏汽率小于1%,節能效果顯著,自動排放空氣等不凝氣體,體積小,不怕凍,安裝不受方位限制,可以水平或垂直安裝,也可以傾斜安裝,維修方便。
CS16H膜盒式蒸汽疏水閥部件材料
序號  | 部件名稱  | 材料名稱  | ||||
1  | 閥 體  | A216 WCB  | A351 CF8  | A351 CF3  | A351 CF8M  | A351 CF3M  | 
2  | 閥 蓋  | A216 WCB  | A351 CF8  | A351 CF3  | A351 CF8M  | A351 CF3M  | 
3  | 膜 盒  | A240 304  | A240 304  | A240 304L  | A240 316  | A240 316L  | 
4  | 閥 片  | A276 430  | A276 304  | A276 304L  | A276 316  | A276 316L  | 
5  | 閥 座  | A276 430  | A276 304  | A276 304L  | A276 316  | A276 316L  | 
6  | 過 濾 網  | A240 304  | A240 304  | A240 304L  | A240 316  | A240 316L  | 
7  | 螺 栓  | A193 B7  | A193 B8  | A193 B8  | A193 B8M  | A193 B8M  | 
8  | 螺 母  | A194 2H  | A194 8  | A194 8  | A194 8M  | A194 8M  | 
CS16H膜盒式蒸汽疏水閥技術規范
公稱壓力PN(MPa)  | 1.6  | 2.5  | 4.0  | 2.0  | 5.0  | 
殼體試驗壓力(MPa)  | 2.4  | 3.75  | 6.0  | 3.0  | 7.5  | 
設計制造  | GB/T 22654-2008 蒸汽疏水閥 技術條件  | ||||
結構長度  | GB/T 12250-2005 蒸汽疏水閥 術語、標志、結構長度  | ||||
螺紋標準  | GB/T 7306.1、GB/T 7306.2、GB/T 7307、GB/T 12716、ASME B1.20.1等  | ||||
檢驗試驗  | GB/T 12251-2005 蒸汽疏水閥 試驗方法  | ||||
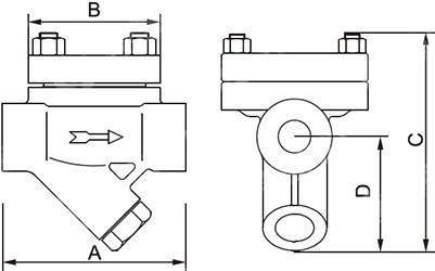
CS16H膜盒式蒸汽疏水閥外型尺寸
公稱壓力 PN  | 公稱通徑 DN  | 尺寸(mm)  | 參考重量 KG  | |||
A  | B  | C  | D  | |||
1.6  | 15  | 100  | 72  | 120  | 58  | 2.5  | 
20  | 100  | 72  | 120  | 58  | 2.5  | |
25  | 120  | 72  | 120  | 58  | 2.5  | |
32  | 150  | 95  | 155  | 68  | 5.0  | |
40  | 160  | 95  | 155  | 68  | 5.0  | |
50  | 160  | 95  | 155  | 68  | 5.0  | |
CS16H膜盒式蒸汽疏水閥結構圖

如果你需訂購我廠CS16H膜盒式蒸汽疏水閥產品,咨詢時煩請說明工作壓力、工作壓差、閥體材料、內件材質、公稱通徑和公稱壓力等,本產品為螺紋連接,口徑可做到50mm,具體詳情請聯系我司銷售技術人員。
網站首頁